各位商家,大家好!
过去,商家在客户运营和商品运营中,由于没有连带销售商品的数据支撑,很难精准识别出哪些是高连带的商品组合,凭经验和感觉向购买的客户推荐连带商品,导致最终的推荐精准度低、消费者接受度差。
因此,我们上线了连带分析的数据看板,帮商家快速筛选出高价值、常见、受欢迎的商品销售组合,进一步精准转化潜在的未连带购买的客群,增加销售收入。
上线时间
CRM:2026年3月2日 已上线
SCRM版本:2026年3月9日上线
使用场景
商家通过CRM的连带分析看板,发现了真正的高潜力组合:“设计师款衬衫(A)+ 不对称半身裙(B)。于是对“买A未买B”的人群进行精准营销。商家立刻圈选最近购买过该款衬衫,但未购买半身裙的客户(共 5,200人),通过导购回访及企微推送,提供该组合的专属穿搭图文与限量满减券。
活动一周后,该“衬衫+半裙”组合的订单数提升了150%,成功将组合购买人数占比8%提升至了20%。客单价提升30%,不对称半身裙单品GMV增长200%。
适用商城版本
已开通有赞CRM、SCRM的商家均可支持
功能路径
CRM: 数据中心 → 连带分析
SCRM: 企业微信助手 → 数据中心 → 连带分析
使用说明
连带分析看板核心是能帮商家快速筛选出高价值、最常见、最受欢迎的商品销售AB组合,帮助商家在销售推荐、货品陈列、营业增收上提供数据支撑。下面将快速为商家介绍一下具体功能:
一、筛选
打开连带分析看板,通过筛选来查看数据范围,支持按时间、店铺、销售渠道进行筛选。
时间筛选: 支持自然日、周、月、季度、年、自定义
查看范围: 支持按店铺、店铺组、区域、批量导入店铺的方式
销售渠道: 支持按订单销售渠道进行数据筛选,根据商家已接入的数据展示对应的渠道数据,查看渠道商品连带组合的差异,渠道支持天猫、抖音、小红书、微信小店、门店、网店等等。

二、连带数据概况
可以帮助商家了解当前经营的连带销售情况,也可以通过一段时间的商品推荐运营,看到连带销售相关的连带率、客单价、笔单价等指标的提升,相关指标释义如下
连带购买订单占比:
- 统计时间内,同笔订单购买2款及以上的订单占总支付订单数的比例(已剔除’赠品’商品)。
- 计算公式:连带购买订单占比 = 同笔订单购买2款及以上的订单数 ÷ 总支付订单数
连带购买客户占比:
- 统计时间内,同笔订单购买2款及以上的客户数占总支付客户数的比例(已剔除‘赠品’商品)。
- 计算公式:连带购买客户占比 = 同笔订单购买2款及以上的客户数 ÷ 总支付客户数
连带率:
- 统计时间内,客户平均单次消费的商品件数(已剔除赠品件数)。
- 计算公式:连带率 = 支付商品件数 ÷ 支付订单数
客单价:
- 统计时间内,每个客户平均支付的金额。
- 计算公式:客单价 = 支付金额(不含流水客支付金额) ÷ 支付客户数
笔单价:
- 统计时间内,每笔订单的平均支付金额。
- 计算公式:笔单价 = 总支付金额 ÷ 总支付订单数
小提示:
由于赠品不算是正常的销售商品,因此在计算时均已默认剔除了赠品商品的件数,保证所有数据的准确性

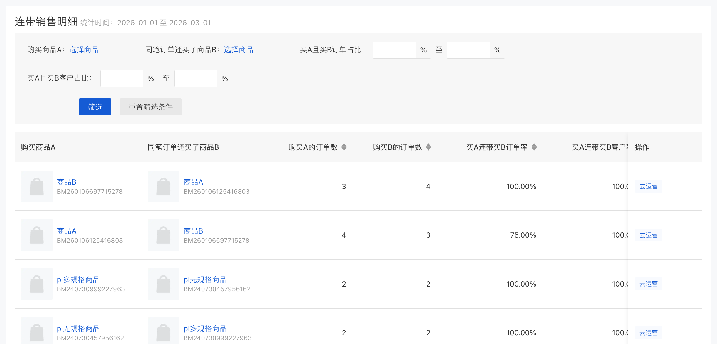
三、连带销售明细
可以清晰的列出商家销售商品中最具有推荐价值的商品组合,挖掘潜在未购买的人群,进行精准营销,来获取更多的销售收入,默认展示统计时间内,所有的商品组合,数据列表默认按【同笔订单买AB的总订单占比】降序排序,商家也可以通过筛选项查看指定A、B商品的连带销售情况,相关指标释义如下:

购买商品A: 统计时间内,支付订单中包含A商品
同笔订单还买了商品B: 统计时间内,支付订单中同时包含A和B商品。即客户同时买了A、B两款商品
购买A的订单数: 统计时间内,所有购买了【A商品】的订单数(只要订单中含A商品就算)
购买B的订单数: 统计时间内,所有购买了【B商品】的订单数(只要订单中含B商品就算)
买A连带买B订单率:
- 买A连带买B的订单比例 = 同笔订单同时购买A和B的订单数 ÷ 所有购买了A的订单数 × 100%
- 例如:100 个买衬衫的订单里,有 40 个订单同时买了裙子,那 “买衬衫带裙子的订单率” 就是 40%
买A连带买B的客户率:
- 计算公式:买A连带买B的客户比例 = 同笔订单同时购买A和B的客户数 ÷ 所有购买了A的客户数 × 100%
- 例如:100 个买衬衫的顾客里,有 40 个人同时买了裙子,那 “买衬衫带裙子的客户率” 就是 40%
同笔订单买AB的总订单占比:
- 用于衡量在统计时间内,所有顾客的订单里, “A 和 B 一起买” 的情况有多常见。
- 计算公式:买A且买B的订单数占比 = 同笔订单同时购买A和B的订单数 ÷ 总支付订单数
同比订单买AB的总客户占比:
- 用于衡量在统计时间内,所有购买的顾客里, “A 和 B 一起买” 的顾客有多常见。
- 计算公式:买A且买B的客户数占比 = 同笔订单买A且买B的客户数 ÷ 总支付订单数
潜在可转化客户数: 统计时间内,买了A商品,但还没有买B商品的客户人数,不关心是不是同笔订单买,只要没买B都会统计
潜在收入: 若【潜在可转化客户】都买了【B商品】,最终能带来的额外收入
小提示:
1. 当【总支付客户数】较多,【同时购买AB的客户数】占比较低时,由于只保留了2位小数展示,可能会出现展示结果为0.00%的情况。
2. 若商家在CRM【数据校准】中配置了支付订单数去重,同一客户同一天在同一店铺的多笔订单只会算1笔,对于连带统计来说会更加准确
系统会自动筛选出买了A商品,但还未买B商品的【客户人数】,点击人数可以跳转至客户查询看到具体是哪些客户,另外还会自动计算这些未购客户购买后可带来的收入。点击【去运营】即可通过营销画布来创建精准营销计划。


四、连带销售趋势
可以帮助商家追踪和评估,某个商品组合的销售趋势、连带趋势,评估精准运营的效果是否达成。
首次进入连带分析页面时,默认展示连带明细中第一条商品组合数据趋势,商家也可以通过修改【购买商品A】,【同笔订单还买了商品B】来调整自己要查看的商品组合

感谢商家一直以来对我们的支持。我们希望这项功能能够为商家带来更好的使用体验,帮助商家更好地利用数据来指导经营决策。
推荐文章
查看更多猛犸象全域会员数字化转型,MAMMUT LIFE启动发力
【猛犸象案例】分析高端户外品牌Mammut全域数字化会员体系转型战略。 打通全渠道数据实现会员整合,DTC私域官网构建、AI智慧导购赋能、服务小程序承载赛事和社区活动提高粘性,以及装备养护服务体系。探索品牌如何通过有赞新零售赋能,实现新零售增长、全域经营与高效转化。
为什么年营收 20 亿的户外品牌,都在自建“全域会员体系”?
深度拆解运动户外品牌数字化转型策略 。面对流量贵、数据断流等痛点,通过搭建全域会员数字化体系,打破信息孤岛 。利用全渠道画像、赛事联动与专属顾问服务提升 LTV(客户生命周期价值),助力品牌实现留存带动增长,成功穿越行业周期 。
什么是客户体验设计?客户体验设计怎么优化?提升满意度方法解析
客户体验设计是指在客户与品牌接触的每一个环节都倾注关怀和周到考虑。
复购率80%!可孚医疗如何把“私域”做成“服务场”?
医疗健康商家如何解决私域拉黑率高、复购率低的问题?本文深度复盘可孚医疗案例,解析其如何摒弃“免费广告轰炸机”思维,转型“服务型私域”。通过组建健康管理师团队、利用有赞CRM建立自动化SOP,将动态血糖仪用户复购率提升至80%。附送有赞消费医疗全域运营解决方案。

